Описание лестничной площадки ЛПФ 31.13-5
Лестничная площадка железобетонная (ЛПФ 31.13-5) Серия 1.252.1-4 вып. 1 применяется для устройства лестничных клеток в зданиях различного назначения: жилых, общественных и промышленных. Изделие изготавливается из высокопрочного бетона с армированием стальной арматурой, что обеспечивает её прочность, устойчивость к нагрузкам и долговечность.
Применение лестничной площадки ЛПФ 31.13-5
Лестничная площадка ЛПФ 31.13-5 используется как элемент для строительства лестничных клеток, соединяющих этажи зданий. Она служит важной частью системы, обеспечивающей безопасное перемещение людей и грузов между этажами. Для монтажа могут применяться дополнительные элементы: раствор, закладные детали и другие комплектующие.
Типы лестничных площадок
Железобетонные лестничные площадки подразделяются на несколько типов в зависимости от размеров и назначения:
- ЛПФ: лестничная площадка фризовая;
- ЛП: лестничная площадка;
- ЛПП: лестничная площадка промежуточная;
- ЛПК: лестничная площадка консольная.
Размеры зависят от типа: длина 3100–6000 мм, ширина 1290–2000 мм, высота 350–500 мм.
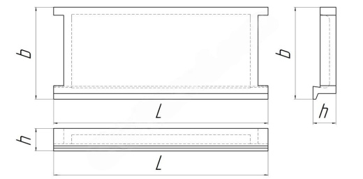
Основные параметры, размеры и характеристики
- Длина L, мм: 3100
- Ширина b, мм: 1290
- Высота h, мм: 350
- Масса, кг: 1330
- Объем бетона, м³: 0,53
- Геометрический объем, м³: 1,40
- Типоразмер площадки: ЛПФ
- Расход стали, кг: 22,98
Дополнительные характеристики
- Класс бетона: B25 (марка М350)
- Марка по морозостойкости: F200–F300
- Марка по водонепроницаемости: W6–W8
- Технология изготовления: вибропрессование или формование с использованием высокопрочного бетона.
Нормы загрузки
- Норма загрузки в автотранспорт 20 т, шт: 15
Документы
- Нормативный документ: Серия 1.252.1-4 вып. 1
Расшифровка маркировки ЛПФ 31.13-5
Маркировка "ЛПФ 31.13-5" содержит следующую информацию:
- ЛПФ – лестничная площадка фризовая;
- 31 – длина площадки в дециметрах (3100 мм);
- 13 – ширина площадки в дециметрах (1290 мм);
- 5 – порядковый номер исполнения или типоразмер.
Условия транспортировки и хранения
Лестничные площадки ЛПФ 31.13-5 перевозятся автомобильным или железнодорожным транспортом с использованием специальных захватных устройств (строп). Хранение осуществляется на ровных площадках с твердым покрытием. Площадки устанавливаются горизонтально в штабель высотой не более 2,5 м. Для предотвращения повреждений между изделиями устанавливаются деревянные прокладки.
Контроль качества лестничной площадки ЛПФ 31.13-5
Каждая лестничная площадка ЛПФ 31.13-5 проходит многоступенчатый контроль качества в соответствии с Серия 1.252.1-4 вып. 1. Проверяются:
- прочность бетона (не ниже класса B25);
- соответствие геометрических размеров проектным данным;
- качество армирования (наличие арматурного каркаса, толщина защитного слоя бетона);
- морозостойкость и водонепроницаемость бетона;
- точность расположения закладных элементов;
- отсутствие трещин, сколов и других дефектов.
Заключение
Лестничная площадка ЛПФ 31.13-5 – надежный и долговечный элемент для устройства лестничных клеток в зданиях различного назначения. Благодаря строгому соблюдению требований Серия 1.252.1-4 вып. 1 и использованию качественных материалов, она обеспечивает прочность, устойчивость и долговечность конструкций. Для заказа качественных железобетонных лестничных площадок обращайтесь к производителям с сертификатами соответствия и опытом работы в сфере ЖБИ.
Смотрите также:
| Варианты написания товара |
|---|
| Лестничная площадка ЛПФ 31.13-5 |
| ЛПФ 31.13-5 площадка |
| Лестничная площадка ЛПФ31.13-5 |
| ЛПФ31.13-5 площадка |
| ЛПФ 31.13-5 |
| ЛПФ31.13-5 |
| Лестничная площадка ЛПФ 31.13-5 Серия 1.252.1-4 вып. 1 |
| ЛПФ 31.13-5 Серия 1.252.1-4 вып. 1 |
| ЛПФ31.13-5 Серия 1.252.1-4 вып. 1 |
|
ГОСТ/Серия
|
Серия 1.252.1-4 вып. 1 |
|
Длина, мм
|
3100 |
|
Ширина, мм
|
1290 |
|
Высота, мм
|
350 |
|
Масса, тонн
|
1.33 |
|
Объем бетона, куб.м
|
0.53 |
|
Класс бетона
|
В40 |
|
Геометрический объем, м.куб
|
1.4 |
Как купить
Процесс покупки железобетонных изделий у нас прост и удобен. Следуйте этим шагам:
- Выбор продукции: Ознакомьтесь с нашим ассортиментом и выберите необходимые железобетонные изделия.
- Консультация: Свяжитесь с нашим менеджером для получения консультации по выбору продукции и уточнения всех деталей. Вы можете позвонить нам или написать на электронную почту.
- Оформление заказа: После согласования всех деталей оформите заказ. Менеджер поможет вам заполнить все необходимые документы.
- Согласование доставки: После оформления заказа наш менеджер свяжется с вами для согласования условий и сроков доставки.
- Оплата: Выберите удобный способ оплаты. Мы предлагаем несколько вариантов, включая безналичный расчет.
- Получение товара: После выполнения всех условий заказа, вы получите железобетонные изделия в назначенное время и по согласованному адресу. При получении подпишите акт приема-передачи.
Если у вас возникли вопросы на любом этапе покупки, не стесняйтесь обращаться к нашим менеджерам!
Оплата
Мы принимаем только безналичные платежи и работаем исключительно с юридическими лицами. Пожалуйста, ознакомьтесь с условиями оплаты ниже:
- Способ оплаты: Все расчеты производятся безналичным путем. Мы не принимаем наличные.
- Счет на оплату: После оформления заказа вам будет выставлен счет, который необходимо оплатить в срок, указанный в документе.
- Реквизиты: Все необходимые банковские реквизиты будут предоставлены в счете. Убедитесь, что все данные указаны правильно для успешного перевода.
- Подтверждение оплаты: После осуществления платежа отправьте нам подтверждение, чтобы мы могли оперативно обработать ваш заказ.
- Получение документов: После полной оплаты вы получите все необходимые документы, включая акт выполненных работ, товарные накладные и сертификаты на продукцию.
Мы работаем с НДС и предоставляем все необходимые сертификаты и документы. Все гарантии будут прописаны в договоре, что обеспечивает прозрачность и надежность сотрудничества.
Если у вас есть вопросы по поводу процесса оплаты, не стесняйтесь обращаться к нашим менеджерам за помощью!
Наша оперативность — ваше удобство. Мы гарантируем своевременную доставку железобетонных изделий, что является ключевым фактором для успешной реализации ваших строительных проектов. Доставка осуществляется прямо к вашему объекту с учетом всех стандартов качества.
Основные условия доставки:
• Выбор тарифа: Вы можете выбрать способ расчета стоимости доставки — почасовой или по зонам.
• Согласование: Менеджер свяжется с вами для уточнения деталей после оформления заказа.
• Время на погрузку: Комплектация товара занимает от 1 до 3 дней в зависимости от объема.
• Акт приема-передачи: Продукция передается по акту приема-передачи.
Тарифы на доставку:
Цены варьируются в зависимости от расстояния и региона. Все тарифы включают НДС. При неблагоприятных погодных условиях возможны небольшие изменения в стоимости.
География доставки:
Мы работаем по всей территории РФ и имеем 12 офисов и производств, чтобы обеспечить удобные условия для доставки.
Для точного расчета стоимости доставки обращайтесь к нашим менеджерам!

